- 11.06.2025, 18:26
#581057
Filter 314 a.jpeg (244.89 KiB) 2932 mal betrachtet
Filter 314.jpeg (175.03 KiB) 2932 mal betrachtet
Hallo,
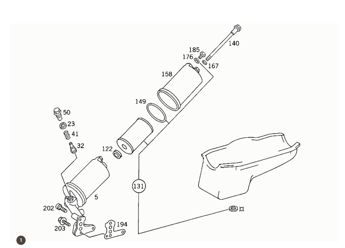
ich habe eine Frage zum Ölfilter beim OM 314.
Bei dem Motor ist das Mann Filtergehäuse H932/ 2 verbaut. Der Filter ist ein H 932/2 t und eine Art Dichring mit der Nummer MB 3141840261verbaut.
Den Dichtring finde ich nirgens im Netz.
Gruß aus dem Oberbergischen
Uwe
ich habe eine Frage zum Ölfilter beim OM 314.
Bei dem Motor ist das Mann Filtergehäuse H932/ 2 verbaut. Der Filter ist ein H 932/2 t und eine Art Dichring mit der Nummer MB 3141840261verbaut.
Den Dichtring finde ich nirgens im Netz.
Gruß aus dem Oberbergischen
Uwe

