Herzlich willkommen

Herzlich willkommen auf der Unimog-Community-Website. Seit 1999 treffen sich hier die Mercedes-Benz Unimog- und MBtrac-Enthusiasten zum Meinungsaustausch und Fachsimpeln.

Hier werden Fragen zur Technik und zur Restauration des Unimog gestellt.

Moderator: stephan

#464260
Hallo Reiner

Vielen Dank für die sehr aussagekräftigen Bilder.

Ich denke es sollte möglich sein, mit einem abgestuften Bohrer von oben im zusammengebauten Zustand ein Loch in den Teller des Ventils zu bohren (rote Linie auf Deinem Foto). Diese Bohrer haben den Vorteil, dass sie nicht so schnell verlaufen. Das Thermostat würde ich dazu in ein Dreibackenfutter spannen und auf einer Ständerbohrmaschine oder einer kleinen Fräsmaschine auf dem Tisch festspannen.

Was für einen Durchmesser würdest Du empfehlen? Nach dem Bild mit der Kerbe kann diese nicht viel mehr Wasser durchlassen als vielleicht ein 2mm Loch - oder?

Gruss und Danke

Jörg
Dateianhänge:
Thermo-1.jpg
Thermo-1.jpg (9.22 KiB) 1958 mal betrachtet
Bohrer-1.jpg
Bohrer-1.jpg (8.98 KiB) 1958 mal betrachtet
#464281
Salue Reiner

Ich kann Dir nicht sagen, ob der Ausgleichbehälter beim 2010 vor dem Oeffnen des Thermostates schon warm wird - glaube aber eher nicht. Werde das beim Abholen des Mogs nach der Winterpause aber einmal beobachten.

Gruss

Jörg
#464283
Hallo Jörg

Er wird warm- wenn alles stimmt....

Betreffend Thermostat musste ich vor Jahren bereits feststellen, dass diese nicht alle sauber regeln. Damals war man mit solchen Problemen ziemlich allein auf sich gestellt. Ich habe dann ein zweites Mal einen Neuen bestellt- dieser regelt um Welten besser. Er beginnt bereits bei 80Grad zu öffnen, der Ausgleichsbehälter ist in diesem Moment etwa handwarm.
Heute würde ich auf Dreiwege umbauen. Aber mit dem jetzt verbauten Thermostat bin ich sehr zufrieden, er regelt wie er soll.

Gruss Norbert
#465153
Hallo alle,

mein Problem habe ich nun nach längerer Pause lösen können. 8) 8) 8) Die Wasserführung im Motor war iO, ebenso der neue Kühler. Ein Loch mit 2 mm Durchmesser im neuen Themoventil hat dann das Problem gelöst. Wieso ist das eigentlich nicht ab Werk da drin? Vielen Dank an alle Mitdenker.

Wer von hat denn schon die permanenten Lüfterradantrieb auf Elektroantrieb umgestellt? Ich habe vor langer Zeit einen Beitrag gelesen, der den Einbau einer Visko-Kupplung beim 406 beschrieb. Gibt es so etwas auch für den 411 und hat jemand konkrete Umbauerfahrungen?

Herzliche Grüße,

Christoph
#465158
Hallo Christoph,

wenn Du mit dem Stichwort Viscolüfter hier suchst, findest Du zahlreiche Beiträge, z. B. diesen: http://www.unimog-community.de/phpBB3/p ... er#p399333

OPTIMOG fährt seit Jahren mit einem BMW E30 Viscolüfter, allerdings auch mit 3-Wege-Thermostatventil und um 3 Liter erweitertem Kühlsystem.
#468186
Hallo

Anbei der versprochene Statusbericht nach dem Ausfassen des Mogs aus dem Winterlager.

Ich habe jetzt 3x die Entwicklung der Kühlmitteltemperatur an der Anzeige sowie per "Handauflegen" am Ausgleichsbehälter beobachtet. Bis ca. 70 Grad kann man am Ausgleichsbehälter quasi nichts feststellen. So ab 80 Grad wird die in Fahrtrichtung linke Seite handwarm. Danach geht auch die Temperarur sehr schnell nach oben bis sie so zwischen 100 und 110 Grad dann rapide abfällt. Dann wird auch der Ausgleichbehälter schlagartig sehr heiss. Mein Fazit: es findet kein Austausch vom Kühlwasser zwischen Motor und Kühlwasserbehälter bei Temp. unter ca. 80 Grad statt.

Dann habe ich das Thermostat ausgebaut und festgestellt, dass nicht das Originale verbaut ist.
Thermostat mit Halter
Thermostat mit Halter
IMG_1567.JPG (22.26 KiB) 1778 mal betrachtet
Thermostat mit Halter
Thermostat mit Halter
IMG_1567.JPG (22.26 KiB) 1778 mal betrachtet
Thermostat mit Rückschlagventil?
Thermostat mit Rückschlagventil?
IMG_1570.JPG (21.84 KiB) 1778 mal betrachtet
Das Thermostat hat ein kleines Rückschlagventil verbaut. Wozu braucht man das? Wenn ich das Rückschlagventil ausbauen würd, hätte ich die gleiche Funktion wie bei einem 2mm-Loch, wie Anfangs in diesem Threat beschrieben.

PS: Habe das Ventil mal in einem Topf mit Wasser erhitzt. Bis 75 Grad keine Bewegung, danach öffnet es langsam und ist bei ca. 85 Grad ganz offen - sieht also gut aus. (evtl. muss man zu diesen Temperaturen noch 5 Grad hinzuzählen, da das eingesetzte Themometer auch bei kochendem Wasser nur 95 Grad anzeigte)

Was meint Ihr: den kleinen Rückschläger mal ausbauen und probieren?

Gruss

Jörg
#468197
Hallo Jörg
Das ist ja schon eine Entlüftung die da dran ist.
Und wenn im System keine Luft mehr ist dann verschließt sie sich durch das Eigengewicht.
Deswegen gibt's ja auch keinen Austausch von warmen Wasser in den Behälter wenn das Thermostat noch zu ist , was auch nicht sein muss !
Aber welches System hast du im Mog?
3wege oder die alte Variante ?
Denn beim neueren Thermostat System muss ja hinten noch ein " ich sag mal Verschluss Kolben dran sein "um dem Kreislauf schnell durch den großen weg gehen zu lassen.
Grüße Jürgen
#468200
Hallo Jürgen

Neehhh, mit 3-Wege ist da nix. Hat vielleicht mal jemand ein Prinzipschema und/oder ein Foto von so nem modernen Ding?

Wenn ich die Beiträge in diesem Threat richtig deute, so soll die 2mm Bohrung nicht nur das System entlüften sondern auch einen Minimal-Wasserkreislauf ab Kaltstart sicherstellen. Ist das nicht so?

Das mit der Entlüftungsfunktion habe ich mir wegen dem "Nippel" auch schon gedacht. Dazu müsste aber sichergestellt sein, dass der Nippel auch an der höchsten Stelle eingebaut ist. Ob dem vor dem Ausbau so war, weiß ich nicht. Man kann das Thermostat auf jeden Fall beliebig verdreht einbauen.

Gruss

Jörg
#468203
... Und noch ne Nachmeldung...

Auf deinen Hinweis Jürgen.

Der dicke Teil des Nippels zeigt Richtung Ausgleichsbehälter. Dort kann sich ja eigentlich keine Luft ansammeln. Andersherum würde es betreffend Entlüftung eher Sinn machen.
Ich gehe mal davon aus, dass das Teil richtig herum drin war. Denn geöffnet hat es ja (wenn auch erst bei 100Grad). Bei warmem Motor blieb die Temperatur mehr oder weniger konstant bei knapp 80 Grad.

Jörg
#468205
Hallo Jörg,

der hohe Temperatur-Überschwinger ist bedenklich und Du solltest zusehen, dass Du ihn bald los wirst. Eine Ursache dafür kann ich aus Deiner Beschreibung allerdings nicht erkennen. Denn er soll bei 79°C zu öffnen beginnen und bei ca. 85°C ganz offen sein. Das scheint ja bei Dir auch der Fall zu sein.

Das "Rückschlagventil" dient der Entlüftung und sollte in die höchst mögliche Position gedreht werden bei Einbau!

Du hast ein 2-Wege-Thermostatventil. Das neigt grundsätzlich zu Temperatursprüngen. Besser ist ein 3-Wege-Ventil. Das regelt (jedenfalls bei mir) ganz ohne Temperatursprünge. In den späteren 411c war es serienmäßig und die Umrüstung älterer 411 wurde von Mercedes empfohlen. Eine Nachfertigung kann man bei MogParts kaufen.

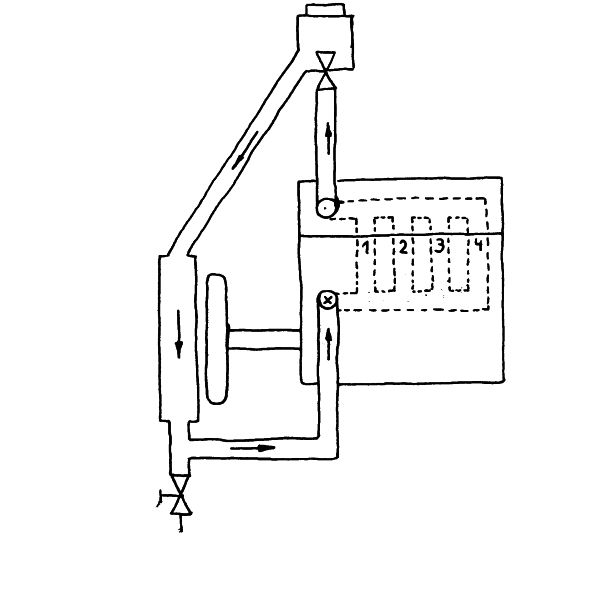
Zum Schluss noch die beiden Kühlkreisläufe als grobe Skizze.
2-Wege: Thermostatventil im Ausgleichsbehälter
3-Wege: Thermostatventil am Austritt aus dem Zylinderkopf
Der Einfachheit halber ist die Pumpe nicht dargestellt.
Dateianhänge:
motorkühlung_schaltplan_serie_klein.jpg
motorkühlung_schaltplan_serie_klein.jpg (24.84 KiB) 1762 mal betrachtet
motorkühlung_schaltplan_3-wege_klein.jpg
motorkühlung_schaltplan_3-wege_klein.jpg (19.43 KiB) 1762 mal betrachtet

Hallo zusammen! Am M180 ist der Saugstutzen fuer d[…]

Seilwinde HPC HY5 FW

Hallo Florian, mach mal Fotos von deinen Halter. […]

Hallo Helmut, vielen Dank für die Antwort. So[…]

Pleullagermuttern M180

Hallo Alexander, leider kann ich das nicht explici[…]