- 19.03.2021, 08:28
#551924
Hallo Stefan,
vielen Dank für deine hilfreichen Verbesserungsvorschläge. So wird das Projekt wohl gelingen.
@all:
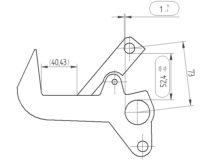
Die Prototypenteile für den Halter für den Ausgleichsbehälter habe ich auch bestellt. Diese Löung passt beim 411.119 Cabrio Fahrerhaus. Beim Westfalia müsste es ähnlich sein. Beim 411.118 wird hinter dem Fahrehaus nicht ausreichend Platz zur Pritsche sein. Da muss man wohl den Halter tiefer setzen oder am Getrieb befestigen.
Warum man nicht den vorhandenen im Unimog 411 nutzt, ist mir unklar. Es gab für Frankreich auch eine Lösung mit Ausgleichsbehälter links neben dem Fahresitz an der Rückwand. Diese hat man auch nicht genutzt.
Auf eine Lösung im Fahrehaus habe ich verzichtet, insbesondere über der Schaltkulisse. Da müsste man keine Löcher bohren, aber dort ist es bei langen Strecken sehr warm und man möchte die Ausdünstungen der Bremsflüssigkeit ja nicht unbedingt einatmen.
Zum Ausgleichsbehälter gibt es sicher viele praktikable Löungen.
Gruß
Markus
vielen Dank für deine hilfreichen Verbesserungsvorschläge. So wird das Projekt wohl gelingen.
@all:
Die Prototypenteile für den Halter für den Ausgleichsbehälter habe ich auch bestellt. Diese Löung passt beim 411.119 Cabrio Fahrerhaus. Beim Westfalia müsste es ähnlich sein. Beim 411.118 wird hinter dem Fahrehaus nicht ausreichend Platz zur Pritsche sein. Da muss man wohl den Halter tiefer setzen oder am Getrieb befestigen.
Warum man nicht den vorhandenen im Unimog 411 nutzt, ist mir unklar. Es gab für Frankreich auch eine Lösung mit Ausgleichsbehälter links neben dem Fahresitz an der Rückwand. Diese hat man auch nicht genutzt.
Auf eine Lösung im Fahrehaus habe ich verzichtet, insbesondere über der Schaltkulisse. Da müsste man keine Löcher bohren, aber dort ist es bei langen Strecken sehr warm und man möchte die Ausdünstungen der Bremsflüssigkeit ja nicht unbedingt einatmen.
Zum Ausgleichsbehälter gibt es sicher viele praktikable Löungen.
Gruß
Markus
Gruß
Markus
...ab jetzt mit neuem Buch: Unimog 411, das Kompendium...
Bestellung nur unter : unimog411-kompendium@gmx.de
Markus
Bestellung nur unter : unimog411-kompendium@gmx.de

