- 04.12.2002, 07:48
#1083
Hallo Leute,
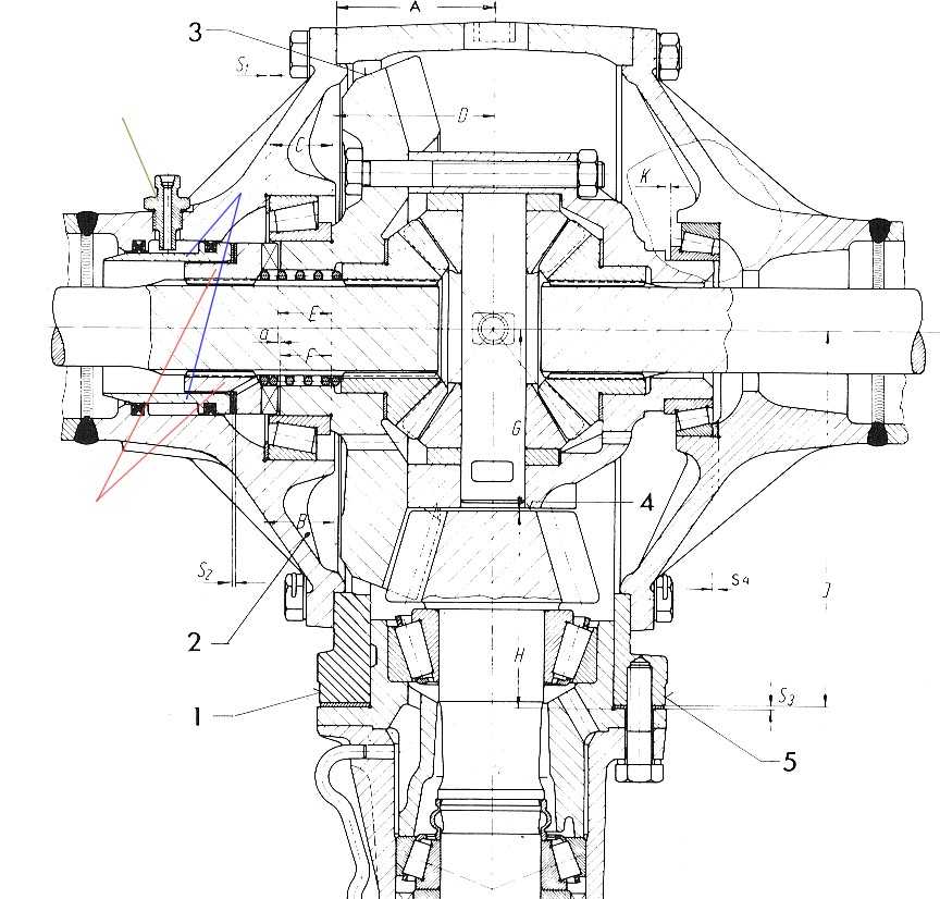
ich habe vor ein paar Tagen festgestellt, dass die Diffsperre hinten bei meinem 411.120 (neue Achse) nicht tut.
Um das zu zerlegen, muss ich da jetzt unbedingt die ganze Achse ausbauen und zerlegen? Reicht es vielleicht, das Ende mit der Sperre abzunehmen und den Rest (Schubrohr, Differenzial, langes Achsrohr) drunter zu lassen Oder kommt man da nur ran, wenn alles zerlegt ist, wie im Werkstatthandbuch beschrieben?
Gruß Stephan
ich habe vor ein paar Tagen festgestellt, dass die Diffsperre hinten bei meinem 411.120 (neue Achse) nicht tut.
Um das zu zerlegen, muss ich da jetzt unbedingt die ganze Achse ausbauen und zerlegen? Reicht es vielleicht, das Ende mit der Sperre abzunehmen und den Rest (Schubrohr, Differenzial, langes Achsrohr) drunter zu lassen Oder kommt man da nur ran, wenn alles zerlegt ist, wie im Werkstatthandbuch beschrieben?
Gruß Stephan
Stephan Kaufmann
-----------------------------
-----------------------------



