- 30.11.2014, 20:14
#458646
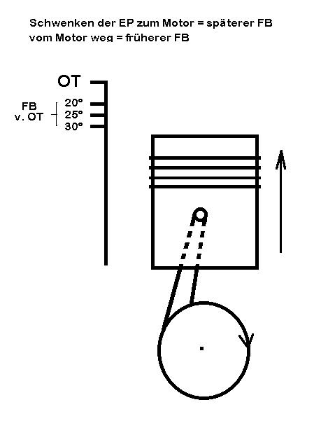
Spritzversteller.jpg (98.62 KiB) 9016 mal betrachtet
Hallo liebe Mogler,
nachdem ich hier im Forum so viel über das Einstellen der Einspritzpumpe gelesen habe,
will ich die Einstellung doch selbst versuchen - benötige aber noch die Hilfe von Euch Experten.
Zuallererst geht es um die Bestimmung des Motors:
Es handelt sich um einen OM 636.930 (OM636.VII) - er hat statt eines Betriebsstundenzählers nur einen Deckel mit spitziger Kappe.
Wenn ich das richtig deute, hat er einen Spritzversteller (siehe Bild). D.h., der Förderbeginn müsste 26° v. OT sein.
Stimmt bisher meine Annahme?
Nun habe ich auf der gesamten Riemenscheibe auch nicht eine einzige Einkerbung oder Markierung finden können.
Wie gehe ich nun weiter vor? Woher weiß ich, wann die 26° v. OT sind, bei der der Förderbeginn sein müsste?
Ist diese Markierung auf der Schwungscheibe eingeschlagen? Dann müssen die Sitze raus und das Abdeckblech runter.
Und weiter:
Wenn ich die 26° auf der Schwungscheibe eingestellt habe, müsste das dann der Moment sein, wo bei ausgebautem ESP-Druckventil des Zylinders 1 der "letzte Tropfen" gefallen sein muss?
Wenn der Tropfen zu spät fällt, muss ich dann die Pumpe zum oder weg vom Motorgehäuse schwenken?
Wenn er zu früh fällt, wie ist dann die Schwenkbewegung?
Ich würde gerne vermeiden, die Pumpe ganz herausnehmen zu müssen.
Sorry für meine vielen Fragen - aber das ist ziemlich verwirrend für mich.
Ich danke Euch für Euren Rat,
viele Grüße
Uwe
nachdem ich hier im Forum so viel über das Einstellen der Einspritzpumpe gelesen habe,
will ich die Einstellung doch selbst versuchen - benötige aber noch die Hilfe von Euch Experten.
Zuallererst geht es um die Bestimmung des Motors:
Es handelt sich um einen OM 636.930 (OM636.VII) - er hat statt eines Betriebsstundenzählers nur einen Deckel mit spitziger Kappe.
Wenn ich das richtig deute, hat er einen Spritzversteller (siehe Bild). D.h., der Förderbeginn müsste 26° v. OT sein.
Stimmt bisher meine Annahme?
Nun habe ich auf der gesamten Riemenscheibe auch nicht eine einzige Einkerbung oder Markierung finden können.
Wie gehe ich nun weiter vor? Woher weiß ich, wann die 26° v. OT sind, bei der der Förderbeginn sein müsste?
Ist diese Markierung auf der Schwungscheibe eingeschlagen? Dann müssen die Sitze raus und das Abdeckblech runter.
Und weiter:
Wenn ich die 26° auf der Schwungscheibe eingestellt habe, müsste das dann der Moment sein, wo bei ausgebautem ESP-Druckventil des Zylinders 1 der "letzte Tropfen" gefallen sein muss?
Wenn der Tropfen zu spät fällt, muss ich dann die Pumpe zum oder weg vom Motorgehäuse schwenken?
Wenn er zu früh fällt, wie ist dann die Schwenkbewegung?
Ich würde gerne vermeiden, die Pumpe ganz herausnehmen zu müssen.
Sorry für meine vielen Fragen - aber das ist ziemlich verwirrend für mich.
Ich danke Euch für Euren Rat,
viele Grüße
Uwe


